Hersteller: Samson , Samson

Samson Ventil Typ 2114, DN 32 mit Flanschanschluss, entlastet, Typenblatt T 2121, Alt Art.Nr: 1084421, Art.Nr. : 5543920

CHF 2’431.75
CHF 2’431.75
CHF 2’559.70

Artikelnummer: 5543920

Alt Artikelnummer: 1084421

Herstellertyp: T 2121

Nennweite: DN 32

Kvs-Wert: 16 m³/h

max. zul. Differenzdruck: 25 bar

16 bar bei PN 16

Gehäusewerkstoffe: Stahlguss, 1.0619, PN 40

Worldwide shipping possible. Requests to E-Mail info@hlkshop.ch

Artikelnummer: 5543920

Charakteristische Merkmale
• Wartungsarme P-Regler, keine Hilfsenergie erforderlich
• Weiter Sollwertbereich und bequeme Sollwerteinstellung mit Kontrolle an einer Skala
• Einsitzventile mit Druckentlastung durch einen Metallbalg oder einer Entlastungsmembran (DN 125 bis 250)
• Für flüssige-, gas- und dampfförmige Medien, insbesondere für die Wärmeträger Wasser, Öl und Wasserdampf
• Ventilgehäuse wahlweise aus Grauguss, Sphäroguss, Stahlguss oder korrosionsfestem Stahlguss
• Ausführungen mit Doppelanschluss oder Handverstellung für Anbau eines zweiten Regelthermostaten. Einzelheiten in Typenblatt T 2036

Sonderausführungen
– Verbindungsrohrlänge 5 m, 10 m, 15 m
– Fühler aus CrNiMo-Stahl
– Verbindungsrohr aus CrNiMo-Stahl oder Cu-kunststoffummantelt
– Ventil komplett in korrosionsfester Ausführung
– KVS-Wert reduziert
– Ventil mit Strömungsteiler I für Geräuschminderung bei Dampf und nichtbrennbaren Gasen
– Sollwertbereich 100 bis 200 °C/150 bis 250 °C
– Ausführung nach ANSI (siehe Typenblatt T 2025)

Wirkungsweise
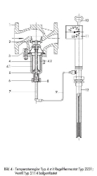
Die Regler arbeiten nach dem Prinzip der Flüssigkeitsausdehnung. Temperaturfühler (12), Verbindungsrohr (9) und Arbeitskörper (7) sind mit einer Flüssigkeit gefüllt. Ausdehnung und Entspannung dieser Flüssigkeit verstellen in Abhängigkeit von der Temperatur am Fühler den Stellbalg im Arbeitskörper (7) und infolgedessen die Kegelstange (5) des Ventils mit dem Kegel (3). Die Stellung des Kegels bestimmt den Durchfluss des Wärmeträgers über die zwischen Kegel (3) und Sitz (2) freigegebene Fläche. Der Temperatur-Sollwert wird mit einem Schlüssel (10) auf einen an der Sollwertskala (11) ablesbaren Wert eingestellt.

Zubehör 
Tauchhülsen mit Gewinde- oder Flanschanschluss für Stabfühler Typ 2231 und 2232 · Gewindeanschluss G1, PN 40, aus Bronze/Stahl/CrNiMo-Stahl · Flanschanschluss DN 32, PN 40, mit Tauchrohr aus CrNiMo-Stahl/Stahl · Tauchrohr aus PTFE, PN 6 (Flansch PN 40) 
DVGW-baumustergeprüfte Tauchhülse für brennbare Gase,
Gewindeanschluss G1, PN 100
Befestigungsteile für Typ 2233 und Typ 2234 · Träger- elemente für Wandmontage · Abdeckhaube für Thermostat Zum Schutz des Arbeitskörpers vor unzulässigen Betriebsbedingungen wird zwischen Ventil und Arbeitskörper ein Verlängerungs-oder ein Zwischenstück angeordnet.
Ein Verlängerungsstück ist für Temperaturen über 220 °C notwendig. Es wird standardmäßig ohne Abdichtung angeboten. Als Sonderausführung gibt es das Verlängerungsstück aus Edelstahl mit Balgabdichtung für DN 15 bis 100. Es wirkt zusätzlich wie ein Zwischenstück.
Bei Kombinationen aus Ventilen mit Grauguss- oder Sphärogussgehäusen mit Sicherheitstemperaturbegrenzer Typ 2212 bzw. Sicherheitstemperaturwächter Typ 2213 ist für Temperaturen über 150 °C ein Verlängerungsstück erforderlich. Zwischenstück aus Messing (für Wasser, Dampf) oder CrNi-Stahl (für Wasser, Öl). Ein Zwischenstück ist dann einzusetzen, wenn eine Abdichtung zwischen Thermostat und Ventil gefordert wird. Ist die Buntmetallfreiheit aller medienberührenden Teile zu garantieren, müssen
Zwischenstücke aus CrNi-Stahl eingesetzt werden. Desweiteren verhindert ein Zwischenstück einen Mediumaustritt bei Thermostatwechsel.
Doppelanschluss Typ Do2 für zweiten Thermostaten · Typ DoS mit elektrischem Signalgeber
Handverstellung Hv mit Hubanzeige · HvS mit elektrischem Signalgeber

*
*
*

Charakteristische Merkmale
• Wartungsarme P-Regler, keine Hilfsenergie erforderlich
• Weiter Sollwertbereich und bequeme Sollwerteinstellung mit Kontrolle an einer Skala
• Einsitzventile mit Druckentlastung durch einen Metallbalg oder einer Entlastungsmembran (DN 125 bis 250)
• Für flüssige-, gas- und dampfförmige Medien, insbesondere für die Wärmeträger Wasser, Öl und Wasserdampf
• Ventilgehäuse wahlweise aus Grauguss, Sphäroguss, Stahlguss oder korrosionsfestem Stahlguss
• Ausführungen mit Doppelanschluss oder Handverstellung für Anbau eines zweiten Regelthermostaten. Einzelheiten in Typenblatt T 2036

Sonderausführungen
– Verbindungsrohrlänge 5 m, 10 m, 15 m
– Fühler aus CrNiMo-Stahl
– Verbindungsrohr aus CrNiMo-Stahl oder Cu-kunststoffummantelt
– Ventil komplett in korrosionsfester Ausführung
– KVS-Wert reduziert
– Ventil mit Strömungsteiler I für Geräuschminderung bei Dampf und nichtbrennbaren Gasen
– Sollwertbereich 100 bis 200 °C/150 bis 250 °C
– Ausführung nach ANSI (siehe Typenblatt T 2025)

Wirkungsweise
Die Regler arbeiten nach dem Prinzip der Flüssigkeitsausdehnung. Temperaturfühler (12), Verbindungsrohr (9) und Arbeitskörper (7) sind mit einer Flüssigkeit gefüllt. Ausdehnung und Entspannung dieser Flüssigkeit verstellen in Abhängigkeit von der Temperatur am Fühler den Stellbalg im Arbeitskörper (7) und infolgedessen die Kegelstange (5) des Ventils mit dem Kegel (3). Die Stellung des Kegels bestimmt den Durchfluss des Wärmeträgers über die zwischen Kegel (3) und Sitz (2) freigegebene Fläche. Der Temperatur-Sollwert wird mit einem Schlüssel (10) auf einen an der Sollwertskala (11) ablesbaren Wert eingestellt.

Zubehör 
Tauchhülsen mit Gewinde- oder Flanschanschluss für Stabfühler Typ 2231 und 2232 · Gewindeanschluss G1, PN 40, aus Bronze/Stahl/CrNiMo-Stahl · Flanschanschluss DN 32, PN 40, mit Tauchrohr aus CrNiMo-Stahl/Stahl · Tauchrohr aus PTFE, PN 6 (Flansch PN 40) 
DVGW-baumustergeprüfte Tauchhülse für brennbare Gase,
Gewindeanschluss G1, PN 100
Befestigungsteile für Typ 2233 und Typ 2234 · Träger- elemente für Wandmontage · Abdeckhaube für Thermostat Zum Schutz des Arbeitskörpers vor unzulässigen Betriebsbedingungen wird zwischen Ventil und Arbeitskörper ein Verlängerungs-oder ein Zwischenstück angeordnet.
Ein Verlängerungsstück ist für Temperaturen über 220 °C notwendig. Es wird standardmäßig ohne Abdichtung angeboten. Als Sonderausführung gibt es das Verlängerungsstück aus Edelstahl mit Balgabdichtung für DN 15 bis 100. Es wirkt zusätzlich wie ein Zwischenstück.
Bei Kombinationen aus Ventilen mit Grauguss- oder Sphärogussgehäusen mit Sicherheitstemperaturbegrenzer Typ 2212 bzw. Sicherheitstemperaturwächter Typ 2213 ist für Temperaturen über 150 °C ein Verlängerungsstück erforderlich. Zwischenstück aus Messing (für Wasser, Dampf) oder CrNi-Stahl (für Wasser, Öl). Ein Zwischenstück ist dann einzusetzen, wenn eine Abdichtung zwischen Thermostat und Ventil gefordert wird. Ist die Buntmetallfreiheit aller medienberührenden Teile zu garantieren, müssen
Zwischenstücke aus CrNi-Stahl eingesetzt werden. Desweiteren verhindert ein Zwischenstück einen Mediumaustritt bei Thermostatwechsel.
Doppelanschluss Typ Do2 für zweiten Thermostaten · Typ DoS mit elektrischem Signalgeber
Handverstellung Hv mit Hubanzeige · HvS mit elektrischem Signalgeber